Electric vehicle batteries are heavy, expensive, crammed full of various exotic compounds, and they are seriously bulky. To store enough energy to provide a decent range, EV batteries are often extremely large, which can make them difficult to fit into a vehicle without eating into cabin or cargo space. Providing a potential solution to this issue, Hyundai and Kia are working to patent a new structural battery assembly.

2022 GMC HUMMER EV Ultium battery
Like A Unibody Assembly But For Batteries

Hyundai Kia Structural Battery 01
The patent application in question, which was published by the United States Patent and Trademark Office on November 14, explains that vehicle bodies and battery assemblies are currently manufactured separately, and then brought together during assembly, however, the “space where panels, etc. overlap is excessive, making it impossible to efficiently use a limited space of the vehicle, and thus having to mount a small amount of battery cells thereon, resulting in reduction of a battery cruising distance.” In other words, by using space more efficiently, engineers can fit more battery capacity into a vehicle, improving the electric driving range.
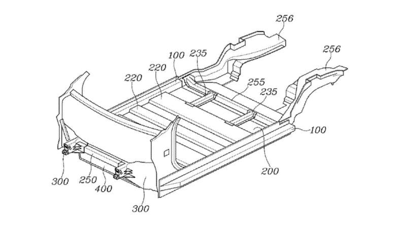
To achieve all this, Hyundai and Kia engineers proposed integrating the battery assembly right into a vehicle’s structure. Glancing at the photos included in the patent application show a floor pan, side rails that appear to extend all the way to the rear wheel openings, and an upright firewall at the front. Down low, and in the middle is where the battery cells get installed, the common sense place to keep a vehicle’s center of gravity as low as possible, though, it’d be hilarious to see an EV with the battery pack mounted in the roof.
Further Unifying The Unibody

General Motors
Nearly all electric vehicles are built around unibody structures with their battery packs installed separately. Integrating the cells directly into the vehicle body makes the structure even more unified and possibly stronger, too. Doing this could also provide some weight savings, though any room freed up by a more space-efficient design would likely just be filled with additional battery capacity for improved vehicle range.
Of course, none of this is a new idea. Other automakers have talked about integrating battery packs and vehicle structures. Tesla proposed doing exactly this, and so has the recently bankrupt startup automaker Canoo.
Now, a completely separate battery assembly could, in theory, make maintenance easier because technicians can unbolt the pack from the bottom of a vehicle and lower it to the ground, though it’s unclear if that would be the case with Hyundai and Kia’s much more integrated design. Serviceability could be an issue with this new configuration if the battery cells aren’t easily accessible without ripping half the vehicle apart.
The Hyundai Motor Group is already a leader in the EV space, and engineering advancements like this will likely give the South Korean automotive giant more advantages over rival companies. When – or even if – this sort of structural battery assembly will enter production remains to be seen, but on the surface at least, this sounds like an excellent idea.