Yamaha’s Experimenting With Electric Turbos—What Bikes Will They Soon Power?
The turbo provides the boost and the electric motor gets rid of the lag.
In a world hurtling toward electrification, it’s easy to assume internal combustion engines (ICEs) are on their last legs. Emissions regulations are tightening. Cities are rolling out zero-emission zones. Even motorcycle brands are pumping serious R&D money into electric and hybrid tech.
But ICE isn’t going quietly. Instead, it’s kicking and screaming, with turbos, superchargers, hybrids, and some truly wild tech. We’re currently in a fascinating liminal space where brands are doing everything they can to squeeze more performance and efficiency from smaller, cleaner engines. And honestly? The results are pretty dope.
Let’s start with the elephant in the room: forced induction. Kawasaki, for one, has been in the game for nearly a decade now. The supercharged H2 lineup proved that boosted bikes aren’t just for the lab or the track. From the ballistic Ninja H2 R to the relatively tame H2 SX sport-tourer, Kawasaki cracked the code on building mass-produced supercharged bikes that are road-legal, warranty-backed, and legitimately fast. But even as Kawasaki fine-tunes that formula, others are now joining the party.

2024 Kawasaki Z H2 SE - Riding
Kawasaki has long been into forced induction since the introduction of the H2 series of motorcycles.
Enter Honda. Later this year, Big Red is expected to unveil the V3R E-Compressor, a radical new concept that pairs an electric supercharger with a V3 engine layout. Yes, a V3—because if you’re going to make something weird and wonderful, why stop at just the forced induction part? Details are still emerging, but the key headline is that this supercharger is electric, which means it can build boost even at low RPMs without relying on exhaust pressure. That eliminates lag and offers razor-sharp throttle response—one of the biggest challenges turbos face on bikes.
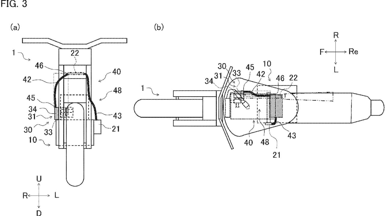
Yamaha, meanwhile, is cooking up something that blends both traditions. The brand recently filed patents for an electrically assisted turbocharger—tech already found in some high-end cars like those from Mercedes-AMG and Porsche. As highlighted by the folks over at Cycle World, Yamaha’s turbo tech is pretty interesting. Instead of waiting for exhaust pressure to spool up, the system uses an electric motor to pre-spin the turbo, effectively killing lag before it ever becomes an issue.

Do you understand Yamaha's design diagram for the electrically assisted turbo bike? I don't either.
Do you understand Yamaha's design diagram for the electrically assisted turbo bike? I don't either. But that doesn't make it any less badass.
What’s especially interesting is that Yamaha doesn’t want to go full hybrid with it. No heavy battery packs, no EV-only modes. Instead, the electric motor would be powered by a high-voltage system, likely 48 volts, with the possibility of using capacitors for brief energy storage. This keeps things lightweight, simple, and more compatible with Yamaha’s current platforms—like the MT-09, which could very well be the launchpad for this tech.
Speaking of the MT-09, not too long ago, Yamaha teased exactly that: an MT-09 Hybrid. This is a production-ready middleweight that blends a traditional engine with a small electric motor assist. It’s not a plug-in hybrid. There’s no silent electric-only mode. But the hybrid system helps with smoother launches, better efficiency, and a subtle performance bump—all while preserving the character of the CP3 triple.

Yamaha previously unveiled an MT-09 Hybrid concept.
Yamaha previously unveiled an MT-09 Hybrid concept.
It’s a clever halfway point between gas and full electric, and a clear sign that Yamaha’s looking at multiple paths forward.
So why all the turbocharging, supercharging, and hybridization now? It’s partly regulatory pressure. Brands need to meet Euro 5+ and future emissions targets, and cutting displacement while boosting output is one way to get there. But it’s also about keeping ICE exciting. Riders still crave visceral engine noise, vibration, and the analog feel that EVs just can’t replicate just yet.
In a sense, these innovations are a last stand for gas-powered bikes. But what a stand it is. Manufacturers are no longer just playing it safe—they’re going bold, experimenting with engine layouts, integrating electric tech in new ways, and revisiting ideas once shelved due to complexity or cost. The result is a new generation of motorcycles that blur the line between combustion and electrification, without losing their soul.